Oracle 索引 構成 表
構成 本記事では. フィールドが集まって構成されている型構造体レコード 構文 type レコード名 is record フィールド名1 データ型 初期値.

Oracle索引梳理系列 五 Oracle索引种类之表簇索引 Cluster Index Yumiko Sunny 博客园

索引と索引構成表
Oracle索引 唯手熟尔
データベース表と索引を計画しそれらが必要とする領域を見積ります 第I部Oracle Databaseの構造と記憶域 第I部スキーマオブジェクト データベースを構成する基礎となるオペレーティングシステムファイルのレイアウトを計画します.
Oracle 索引 構成 表. Oracle Databaseオラクル データベースとは米国 オラクル Oracle が開発販売している関係データベース管理システム RDBMS のことである Oracle Databaseは世界初の商用RDBMSでありメインフレームからパーソナルコンピュータまで幅広いプラットフォームをサポートしている. 統計情報は Oracle Database がSQLの実行計画を生成する際に利用されています 2統計情報には具体的にどんな値があるのですか 統計情報には大きく分けて表統計列統計索引統計システム統計が存在します. はじめまして本日からこの連載を始めます津島と申します 長年に渡りデータベースの構築やパフォーマンスチューニングなどに従事し最近では若手エンジニアの育成および大規模データベース案件などの支援に従事しております今までの経験が少しでもお役に立てればと思いこの.
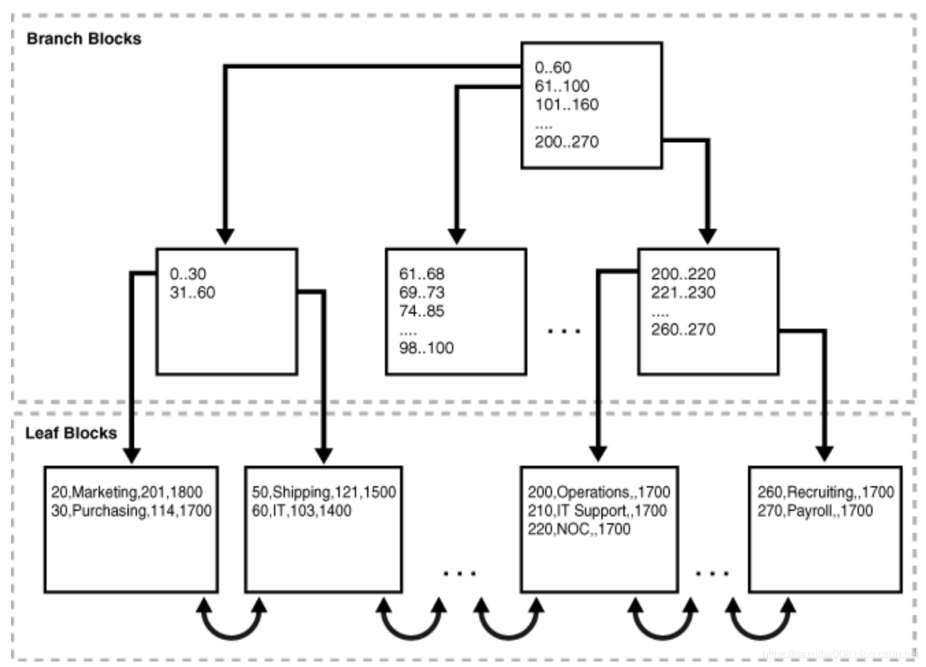
索引構成表は索引のリーフにデータを格納する表で永続的な物理ROWIDを持つことができない そのために論理的な位置を示す UROWID Universal ROWIDがあるOracle 8i815 プライマリキー 以外の更新では変更されることがない点が特徴. SQL ServerとOracleの違いとはSQL ServerとOracleは同じデータベースですが似ているようで似ていない何が違うのかよくわからないということもあるかと思いますSQL ServerとOracleの違いをサク. 既存の表と同じレコードを定義する 構文 変数名 表名rowtype.
Alter index rebuild による索引の再構築インデックスの再構築は既存のインデックスとは別の新しいデータセグメントを獲得して行なわれる再構成ためのベースとなるデータの取得には既存のインデックスに対して index fast full scan を実行する.

Mysql实战宝典索引调优篇09 索引组织表 万物皆索引 简书

Oracle索引组织表 Iot 魂醉的一亩二分地 Csdn博客

Oracle 常用索引分析 使用原则和注意事项 Weixin 30590285的博客 程序员宝宝 程序员宝宝

Oracle索引大全 以及生产中适用的场景 翰墨文海 博客园
关于oracle位图索引内部浅论
索引構成表とクラスタの管理

Oracle 强制索引介绍 墨天轮
![]()
Oracle数据库 逻辑存储结构 表空间 段 区 块概念详解 Oracle 数据块 磁盘 索引 手机网易网
You have just read the article entitled Oracle 索引 構成 表. You can also bookmark this page with the URL : https://trixiet3lu.blogspot.com/2022/04/oracle.html
0 Response to "Oracle 索引 構成 表"
Post a Comment